华为再申请注册脑海商标,国际分类为科学仪器
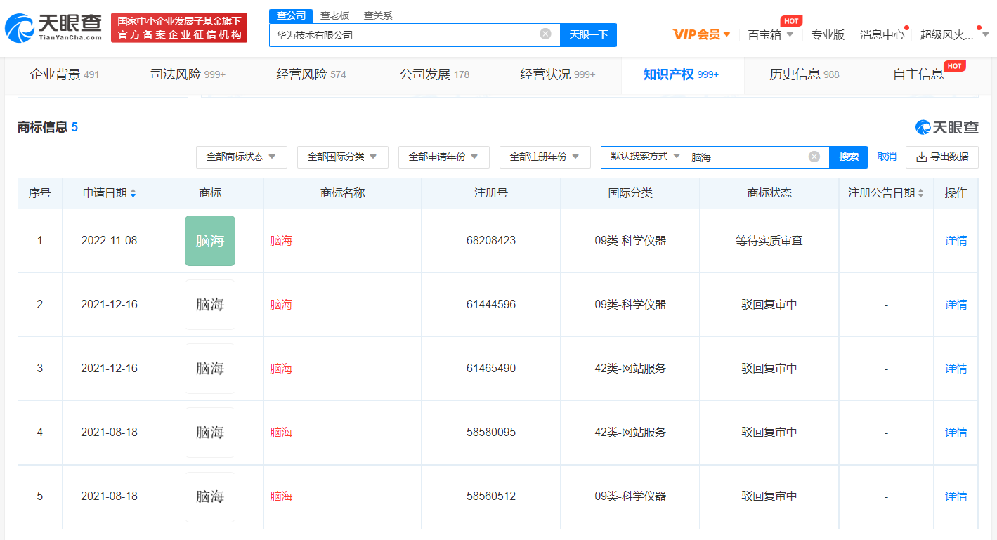
鞭牛士 12月2日消息,天眼查App显示,近日,华为技术有限公司再申请注册“脑海”商标,国际分类为科学仪器,目前商标状态为申请中。此前,华为曾两次申请科学仪器和网站服务类“脑海”商标,不过均被驳回。
值得一提的是,不久前,华为技术有限公司申请的脑机接口相关专利公布,该专利可以使用户无需直视视觉刺激即可下发人机交互命令。


扫码下载app 最新资讯实时掌握
